深圳市粤科源兴科技有限公司
联系电话:0755-88377517
|
深圳市粤科源兴科技有限公司
深圳市粤科源兴科技有限公司
首页
关于我们
公司简介
新闻中心
联系我们
传感器
ALLEGRO
Honeywell霍尼韦尔
MegnTek麦歌恩
infineon英飞凌
Diodes美台
TDK东电化
SEIKO精工
Akm旭化成
Melexis迈来芯
NICERA尼塞拉
TI德州仪器
台产松术songhall
台湾MST美加
muRata村田
罗姆ROHM
其他霍尔元件
其他器件
二三极管
主动器件
红外传感器
被动器件
电阻器
电容器
应用领域
电动汽车
智能家居
消费电子
工业控制
医疗设备
玩具
仪器仪表
能源设施
代理品牌
联系我们
您的位置:
网站首页
产品展示
磁性齿轮检测芯片
分类栏目
霍尔元件
+
ALLEGRO
Honeywell霍尼韦尔
MegnTek麦歌恩
infineon英飞凌
Diodes美台
TDK东电化
SEIKO精工
Akm旭化成
Melexis迈来芯
NICERA尼塞拉
TI德州仪器
台产松术songhall
台湾MST美加
muRata村田
罗姆ROHM
其他霍尔元件
磁性编码芯片
磁性电流检测芯片
磁性齿轮检测芯片
磁性开关位置检测芯片
磁性齿轮检测芯片
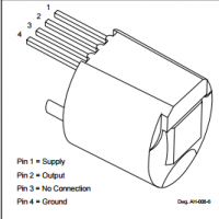
TLE4921-5U、TLE4921-3U infineon英飞凌 差分齿轮旋转检测霍尔效应传感器IC元件
ALLEGRO ATS632LSA零速数字输出霍尔效应齿轮感应IC芯片
Allegro ATS643霍尔效应齿轮传感器ic
美国ALLEGRO型号ATS19420高精度霍尔效应变速齿轮齿传感器IC
ALLEGRO型号UGN3503线性霍尔效应齿轮传感器IC元件
megntek麦歌恩微电子MT3641齿轮感测检测感应hall效应IC芯片
megntek麦歌恩微电子MT3601凸轮轴检测齿轮感应传感器IC芯片
ALLEGRO型号A3046, A3056, A3058霍尔hall效应齿轮测速传感器IC芯片
ALLEGRO型号ATS632LSC霍尔hall效应齿轮感应检测ic芯片
ALLEGRO型号ATS665LSGTN-T零速齿轮齿传感器HALL霍尔ic
ALLEGRO型号ATS622LSB零速霍尔效应齿轮齿传感器
megntek麦歌恩微电子MT3602变速箱凸轮轴用齿轮传感器IC
melexis迈来芯MLX90254差分动态霍尔效应齿轮传感器IC元件
MLX90217迈来芯melexis旋转位置齿轮霍尔HALL效应传感器ic元件
美国ALLEGRO型号ATS667LSGTN-T零速齿轮齿传感器IC
infineon英飞凌TLE4941C齿轮双线霍尔效应传感器IC元件
上一页
1
下一页
关于我们
公司简介
新闻中心
联系我们
传感器
ALLEGRO
Honeywell霍尼韦尔
MegnTek麦歌恩
infineon英飞凌
Diodes美台
TDK东电化
SEIKO精工
Akm旭化成
Melexis迈来芯
NICERA尼塞拉
TI德州仪器
台产松术songhall
台湾MST美加
muRata村田
罗姆ROHM
其他霍尔元件
其他器件
二三极管
主动器件
红外传感器
被动器件
电阻器
电容器
应用领域
电动汽车
智能家居
消费电子
工业控制
医疗设备
玩具
仪器仪表
能源设施
0755-88377517
20年专注电子元件,让您零库存,无风险,高效运营。
网站首页
产品展示
新闻资讯
在线留言